каталог
Прочее
Новое в каталоге
Acer TravelMate P414-51-73GM

Intel 1165G7 2800 MHz, 14", 16 Mb, 1.4 кг

Acer TravelMate P414-51-54M6

Intel 1135G7 2400 MHz, 14", 8 Mb, 1.4 кг

Acer TravelMate P414-51-51X

Intel 1135G7 2400 MHz, 14", 8 Mb, 1.4 кг

Acer TravelMate P414-51-50CT

Intel 1135G7 2400 MHz, 14", 8 Mb, 1.4 кг

Последние новости
Ошибкам НЕТ

Обнаружили у нас ошибку?

Жми Ctrl+enter

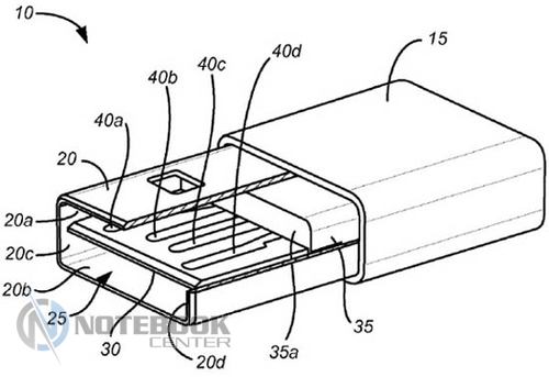
Новый патент от Apple касается двухстороннего USB-коннектора

Коннектор Lightning от Apple стал в свое время гениальным изобретением, возможность вставлять его любой стороной привела пользователей в восторг. Однако Европарламент оказывает давление на Apple, коннекторы компании обязаны соответствовать стандарту USB уже к 2017 году. Компания из Купертино активно взялась за составление патентов относительно новых USB-коннекторов.



Итак, Apple готова представить новый двухсторонний штекер, то есть его можно будет переворачивать. Вероятно, что ЕС не согласится с таким подходом и потребуют стандартную версию USB-коннектора от компании. Напомним, что уже три года как Apple, продавая в Европе свои устройства, вынуждена укомплектовывать их дополнительными стандартными USB-штекерами и переходниками, однако ЕС такое положение дел не устраивает.

Напомним, что в прошлом году компания USB 3.0 Promoter Group, отвечающая за разработку стандарта, представила USB-коннектор Type-C. Основное достоинство изобретения состоит в том, что пользователь сможет вставлять кабель любой стороной, однако коннектор не совместим с существующими на данный момент разъемами USB.
Автор: Елена Панченко
Дата: 28.07.2014

Ключевые слова: Apple

Поделиться

Нравится

Оставить комментарий могут только зарегистрированные или авторизированные пользователи.
Последние обсуждения
Пользователь: Utikizator
AMD A8-4500M

>А этот процессор поддерживает функцию вертуализация Да

Дата: 04.10.23
Пользователь: Chetkiy
Dell Inspiron 3595: предельно просто

Это не стоит вобще никаких денег,(брал чисто фильмы в дороге посмотреть) просто...

Дата: 03.03.23
Пользователь: staruxa
HP Compaq 530

У ноутбуков с номерами KD092AA, KE666AA, KP477AA, KP479AA процессоры Intel Core...

Дата: 19.02.23
Пользователь: STEPAn_2
Acer Extensa 5620

У меня полетела матрица, какие видеовыходы можно использовать?

Дата: 19.02.23
Свежие обзоры

О портале:

Реклама на портале

О нас

NOTEBOOK-CENTER - ноутбуки © 2006-2026

Полное или частичное использование материалов сайта возможно только после согласия автора или администрации сайта.

Ищите нас в социальной сети:

Twitter ВКонтакте Google+ Яндекс: Каталог виджетов