каталог
Прочее
Новое в каталоге
Acer TravelMate P414-51-73GM

Intel 1165G7 2800 MHz, 14", 16 Mb, 1.4 кг

Acer TravelMate P414-51-54M6

Intel 1135G7 2400 MHz, 14", 8 Mb, 1.4 кг

Acer TravelMate P414-51-51X

Intel 1135G7 2400 MHz, 14", 8 Mb, 1.4 кг

Acer TravelMate P414-51-50CT

Intel 1135G7 2400 MHz, 14", 8 Mb, 1.4 кг

Последние новости
Ошибкам НЕТ

Обнаружили у нас ошибку?

Жми Ctrl+enter

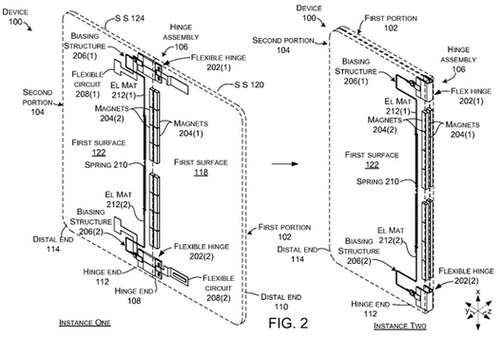
Новый интересный патент от компании Microsoft

Все ожидали новый смартфон от Microsoft, однако, производитель неожиданно запатентовал интересное устройство с гибким экраном – планшет, который, по необходимости, может принимать форму книги. На предварительных эскизах подробно видно, что корпус новинки поделен на две одинаковые половинки с шарнирным механизмом соединения.



В сложенном состоянии они должны будут удерживаться посредством магнитов. Интересно, что, судя по всему, в сложенном состоянии или вывернутой наизнанку новинка выступит в качестве смартфона с двумя дисплеями, а в разложенном на 180 градусов – планшетом.
Автор: Екатерина Ворожко
Дата: 13.06.2017

Ключевые слова: Microsoft

Поделиться

Нравится

Оставить комментарий могут только зарегистрированные или авторизированные пользователи.
Последние обсуждения
Пользователь: Utikizator
AMD A8-4500M

>А этот процессор поддерживает функцию вертуализация Да

Дата: 04.10.23
Пользователь: Chetkiy
Dell Inspiron 3595: предельно просто

Это не стоит вобще никаких денег,(брал чисто фильмы в дороге посмотреть) просто...

Дата: 03.03.23
Пользователь: staruxa
HP Compaq 530

У ноутбуков с номерами KD092AA, KE666AA, KP477AA, KP479AA процессоры Intel Core...

Дата: 19.02.23
Пользователь: STEPAn_2
Acer Extensa 5620

У меня полетела матрица, какие видеовыходы можно использовать?

Дата: 19.02.23
Свежие обзоры

О портале:

Реклама на портале

О нас

NOTEBOOK-CENTER - ноутбуки © 2006-2026

Полное или частичное использование материалов сайта возможно только после согласия автора или администрации сайта.

Ищите нас в социальной сети:

Twitter ВКонтакте Google+ Яндекс: Каталог виджетов